Regulowany palmrest

Awatar użytkownika
Przemo
Posty: 758
Rejestracja: 2013-05-15, 13:42
Lokalizacja: Poznań

Regulowany palmrest

Post autor: Przemo »

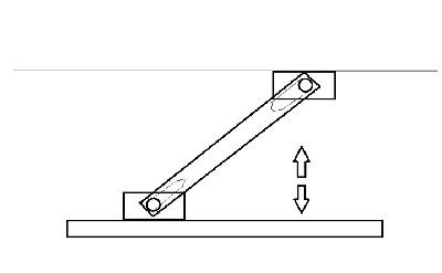
Robiąc przymiarki do FT, ale może i do HFT, postanowiłem zrobić sobie regulowany palmrest. Dałem ogłoszenie dotyczące zakupu w rozsądne cenie, ale brak odzewu a u komercyjnych to ładne parę stów. Postanowiłem więc wykonać go samodzielnie, gdyż konstrukcja banalna.
Założenia są takie, że ma się dać szybko podnieść/opuścić i ustawić kąt ( bez użycia narzędzi) zachowując jednocześnie starczającą sztywność.
Większość części już mam: płaskownik aluminiowy na palmrest, z tego samego płaskownika wytnę regulowane ramiona, aluminiowe klamry do zaciskania siodełek rowerowych też kupione, jeszcze czekam na pręt kwadratowy aluminiowy o przekroju 3cm jako elementy do mocowania przegubów. Póki co poglądowy rysunek, jak zmontuję całość to wrzucę, może ktoś też sobie będzie chciał zrobić ;-)
Załączniki
palmrest.jpg
WSST
Awatar użytkownika
Przemo
Posty: 758
Rejestracja: 2013-05-15, 13:42
Lokalizacja: Poznań

Post autor: Przemo »

A inspiracja od kolegi z iweb (mój będzie trochę zmodyfikowany):
Załączniki
my5f.jpg
WSST
Awatar użytkownika
WuDe
Posty: 2346
Rejestracja: 2013-03-02, 09:27
Lokalizacja: Poznań

Post autor: WuDe »

Świetny pomysł 😀
Uwaga:
WuDe jest dobry na wszystko
LG i LG i Dejski
Awatar użytkownika
Marecki
Posty: 718
Rejestracja: 2014-01-06, 21:21
Lokalizacja: Poznań

Re: Regulowany palmrest

Post autor: Marecki »

Powodzenia w majsterkowaniu - czekam na fotki !
Jaki zakres regulacji przewidujesz ?
Pozdrawiam
Marek
Awatar użytkownika
Przemo
Posty: 758
Rejestracja: 2013-05-15, 13:42
Lokalizacja: Poznań

Post autor: Przemo »

Po złożeniu będzie miał wysokość około 35mm + 4mm pianki pod palmrestem (w hft nie lubię mieć wysoko) a maksymalne rozłożenie będzie zależało od długości ramion, ale myślę, że około 18cm. Ile ma Twój licząc od szyny?
WSST
Awatar użytkownika
Marecki
Posty: 718
Rejestracja: 2014-01-06, 21:21
Lokalizacja: Poznań

Post autor: Marecki »

Od lufy do końca palmrestu jest 15 cm
od szyny około 10,5 cm
Pozdrawiam
Marek
Awatar użytkownika
Przemo
Posty: 758
Rejestracja: 2013-05-15, 13:42
Lokalizacja: Poznań

Post autor: Przemo »

Wyglądało na więcej, pewnie zrobię podobną wysokość.
WSST
Awatar użytkownika
Jaro
Posty: 98
Rejestracja: 2014-07-09, 21:11
Lokalizacja: Ziębice
Kontakt:

Post autor: Jaro »

Przemo, może byś zrobił takie dwa ?? Też się rozglądam za palmrestem i jak zwykle nie można nic w dobrej cenie kupić :(
Dolnośląska Grupa Strzelectwa Terenowego
www.hftbeaver.org
Awatar użytkownika
Przemo
Posty: 758
Rejestracja: 2013-05-15, 13:42
Lokalizacja: Poznań

Post autor: Przemo »

Kurde, póki co nie mam kiedy zrobić swojego. Jak wieczorem mam chwilę to ddziecko śpi i nie mogę włączyć slifiery...mogę udostępnić Ci kawałek płaskownika, klamry są na allegro po kilka zł, najtrudniej zjeść czas.
WSST
Awatar użytkownika
Jaro
Posty: 98
Rejestracja: 2014-07-09, 21:11
Lokalizacja: Ziębice
Kontakt:

Post autor: Jaro »

Dzięki, ale u mnie z czasem jest jeszcze gorzej. Do tego jak coś nie działa na bateryjki to już nie moja branża i nawet książka " zrób to sam " Adam Słodowy nie pomoże... :( Poczekam na finał Twojej pracy.
Dolnośląska Grupa Strzelectwa Terenowego
www.hftbeaver.org
Awatar użytkownika
Grossus
Moderator
Posty: 3163
Rejestracja: 2013-03-01, 22:49
Lokalizacja: Zalasewo

Post autor: Grossus »

Jaro pisze:Dzięki, ale u mnie z czasem jest jeszcze gorzej. Do tego jak coś nie działa na bateryjki to już nie moja branża i nawet książka " zrób to sam " Adam Słodowy nie pomoże... :( Poczekam na finał Twojej pracy.
Mam tak samo, ale u mnie najlepiej jak jest 230V. :-)
Bo ja myślałem, że "Miś" to film fabularny, a to jest dokument.
Awatar użytkownika
Przemo
Posty: 758
Rejestracja: 2013-05-15, 13:42
Lokalizacja: Poznań

Post autor: Przemo »

Dziś znalazłem chwilę i zmontowłem całość do kupy. Jeszcze trzeba wypolerować, podkleić od spodu piank i będzie gotowe.
Załączniki
IMG_20141215_185300.jpg
WSST
Awatar użytkownika
WuDe
Posty: 2346
Rejestracja: 2013-03-02, 09:27
Lokalizacja: Poznań

Post autor: WuDe »

No wygląda wygląda obiecująco i nawet nie specjalnie paskudnie :lol:
Uwaga:
WuDe jest dobry na wszystko
LG i LG i Dejski
Awatar użytkownika
Grossus
Moderator
Posty: 3163
Rejestracja: 2013-03-01, 22:49
Lokalizacja: Zalasewo

Post autor: Grossus »

Kawał amelinium. To już na pewno FT, bo jakoś do leżaka i HFT to chyba niewygodnie będzie.
Bo ja myślałem, że "Miś" to film fabularny, a to jest dokument.
Awatar użytkownika
Przemo
Posty: 758
Rejestracja: 2013-05-15, 13:42
Lokalizacja: Poznań

Post autor: Przemo »

Tak, do FT, teraz nawet tego nie zakładam. W HFT wolę standardową osadę i wyżej ponieść się na łokciach, co by serce i oddech odłączyć od lunety.
WSST
ODPOWIEDZ